【大河财立方消息】天眼查工商信息显示,近日,许昌市胖东来商贸集团有限公司发生工商变更,于东来不再兼任总经理,改任经理。同时,多位高管发生变更,房亚军新任董事,冯延军任监事会主席,王慧任财务负责人。

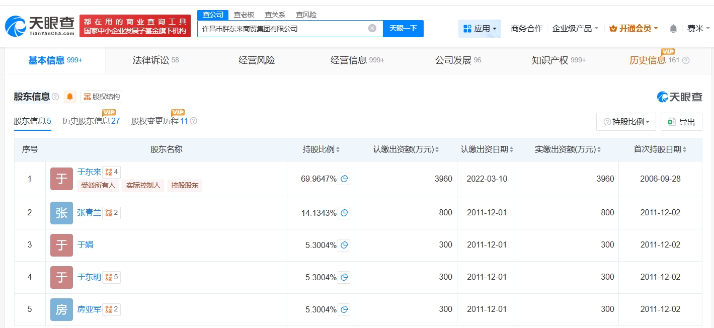
许昌市胖东来商贸集团有限公司成立于1997年9月,法定代表人为于东来,注册资本5660万人民币,经营范围包括服装洗涤、鞋类修理、房地产开发销售等。股东信息显示,该公司由于东来、张春兰、于东明等共同持股。


截至11月17日,胖东来集团年度销售额达205.75亿元,其中超市业态贡献111.72亿元,时代广场店年度销售额52.75亿元。

责编:史健 | 审核:李震 | 监审:古筝