
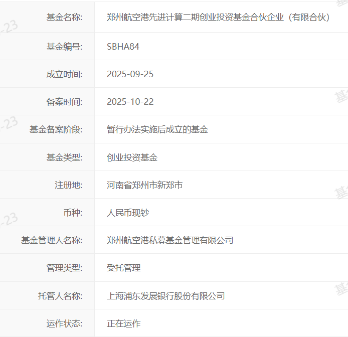
【大河财立方消息】10月23日消息,郑州航空港先进计算二期创业投资基金合伙企业(有限合伙)在中基协备案。
郑州航空港先进计算二期创业投资基金总规模7.14亿元。基金有限合伙人包括:南京凤璟启泽创业投资基金(认缴出资2.5亿元)、东方明珠新媒体股份有限公司(证券简称东方明珠、认缴出资2.44亿元)、黄石市启浦晨旭股权投资合伙企业(认缴出资1亿元)以及广发信德(开平)创业投资基金、深圳市聚合资本有限公司、维科控股集团等。普通合伙人为郑州航空港私募基金管理有限公司。
该专项基金拟通过股权投资方式,受让超聚变数字技术有限公司股权,以超聚变公司的股权增值实现投资收益。
记者注意到,郑州航空港先进计算一期创业投资基金规模5.11亿元,同样拟通过股权投资方式,受让超聚变数字技术有限公司股权。一期基金已于10月14日完成募集。
超聚变数字技术公司是一家全球领先的云计算与IT基础设施提供商,主要布局算力、城企数智、智慧能源解决方案等业务领域。2021年12月18日,超聚变服务器生产线投产仪式在郑州航空港经济综合实验区举行。2025年初,超聚变公司位于郑州的研发中心及总部基地投用。
责编:陈玉尧 | 审核:李震 | 监审:古筝
