
【大河财立方消息】天眼查显示,近日,大连万达集团股份有限公司及其法定代表人王健林等被限制高消费。案件流程显示,此前,大连万达集团股份有限公司、万达地产集团有限公司等因此案被强制执行1.86亿。
天眼查显示,大连万达集团股份有限公司股权冻结信息达47条,被冻结股权的标的企业涉及大连万达商业管理集团股份有限公司、万达文化产业有限公司、大连万达集团商务服务有限公司等。
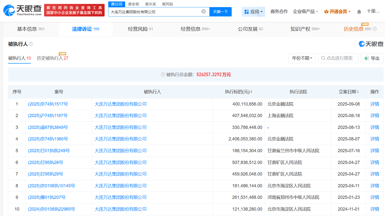
除了股权冻结,大连万达集团股份有限公司还有10条被执行人信息,总金额达52.62亿元。
近年来,万达一直出售资产缓解现金压力,2025年以来,万达陆续有7座万达广场被零散出售,而在2023年-2024年间,据不完全统计,王健林陆续出售超30座万达广场。
责编:史健 | 审核:李震 | 监审:古筝
