阳光城集团等新增被执行8.89亿元
大河财立方
2025-07-08 15:44:18

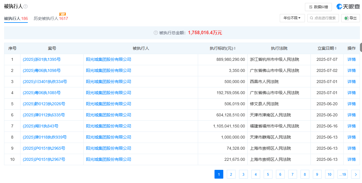
【大河财立方消息】7月8日,据天眼查App,近日,阳光城集团股份有限公司、阜阳光聚房地产开发有限公司、安徽阳聚光城房地产开发有限公司、肇庆市昊阳房地产开发有限公司新增一条被执行人信息,执行标的8.89亿余元,执行法院为浙江省杭州市中级人民法院。

风险信息显示,阳光城集团股份有限公司现存186条被执行人信息,被执行总金额175亿余元,此外,该公司还存在多条限制消费令、失信被执行人及终本案件信息。

实习编辑:金怡杉 | 审核:李震 | 监审:古筝


相关资讯