规模50亿元!信阳华信创新产投基金在中基协备案
大河财立方
2024-06-30 20:11:02

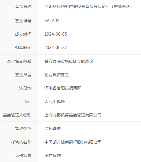
【大河财立方消息】6月30日消息,信阳华信创新产业投资基金合伙企业(有限合伙)日前在中基协备案。

信阳华信创新产业投资基金出资额50亿元,信阳建投投资集团、上海九郡私募基金管理有限公司分别出资99.9%、0.1%。

责编:陈玉尧 | 审核:李震 | 监审:万军伟


相关推荐
下载