“报到立刻发半个月工资?”近期,宝能汽车招新,传言推出该举措。
据上海证券报9月17日报道,宝能汽车内部人士向记者证实,上述招聘已经开始,但不确定能否执行“报到立刻发半个月工资”的要求。
宝能汽车方面近期回应,公司一直都有招聘需求,并非当日最新宣布。宝能汽车一直会处理在岗位上懈怠或有违纪现象的员工,有时业务暂时收缩会对业务员进行清理。
矛盾的是,宝能汽车在近期进展不顺。
记者近期走访看到,宝能汽车西安基地基本处于停滞状态,多个车间的生产设备布满灰尘,相应地块的土地使用权被当地政府收回。
更早前,7月31日上午,宝能集团董事长姚振华在深圳总部被围堵,欠薪员工要求其支付拖欠的多个月工资。之后,姚振华决定裁员,涉及宝能集团的宝能汽车。
8月3日,宝能集团在官网发布《关于7月31日宝能集团姚振华董事长遭到暴力袭击事件的声明》。声明称,强烈谴责7月31日的暴力袭击事件,集团已采取相应法律行动,并采取必要措施,确保全体干部员工的人身安全,及企业正常经营。同时,宝能集团在声明中表示,“本集团坚决履行企业主体责任,绝大部分经营单元均正常发薪,部分存在薪资缓发的经营单元正在全力解决,从未懈怠。”
裁员后,宝能汽车招人
据上海证券报17日报道,9月8日,宝能汽车人力资源中心开会宣布,宝能汽车即日启动新员工招聘工作,承诺新招聘员工工资可正常发放,一经报到先发放半个月工资。
“这是宝能汽车人力资源一位负责人在开招聘会时说的。”宝能汽车内部人士证实了上述事项。
记者注意到,“报到即发放半月工资”的说法还有争论,但是宝能汽车的招聘确实已经开始。
查询某招聘平台可见,宝能汽车在西安、深圳区域,仍有多条招聘信息,岗位包括战略规划经理、大数据开发工程师、自动驾驶产品规划主任、CAN总线测试工程师等。
奇怪的是,宝能汽车在一个多月前,刚经历了一波裁员。
7月底,姚振华被围堵的视频在社交平台热传。视频中,姚振华被一群人围追堵截,眼镜都被“打掉”了,他大喊“你们这是犯法!”
据中国证券报报道,围堵姚振华的这些人都是被欠薪的员工。而据中新网报道,有消息称,姚振华被打脱身后进入宝能中心会议室开会,下达裁员指标。姚振华称,彼时,姚振华表示“要说贡献,没有,你凭什么拿这么高工资,通通都得降。”“你不创造生产,除了会要钱还会干什么?”“不作为的、躺平的、不担当的、不遵守纪律规则要求的全部走人。”
宝能集团欠薪等消息不断
从去年以来,宝能集团欠薪等消息不断。
每日经济新闻今年6月曾报道,宝能集团2017年底以战略投资观致汽车进军整车制造为起点,5年以来累计向汽车业务投入了530亿元资金,并打造了涵盖“研发-零部件-整车制造-后市场”的汽车全产业链。
“当初究竟是宝能系哪个板块收购的观致汽车,一直没有披露,对外公布的信息比较笼统。宝能之前的模式就是依靠不停的融资(来经营),比如说,以拿到的土地进行融资,再以这样的融资去布局工厂,进而再拿工厂去融资……”已经离职的前宝能工作人员表示,之前宝能的商业逻辑类似于“赚快钱”的模式,转型到汽车行业之后上会有一些挑战。
每日经济新闻记者得到的一份文件显示,因宝能集团阶段性流动性困难,宝能汽车在全国业务自2021年6月进入不良状态,经营班子对已开业的472家门店进行复盘梳理,对不符合市场需求和无实际业绩的门店进行闭店处置。到2023年4月,因欠租、欠货款、欠二网保证金、欠薪、社保、住房公积金断缴等问题持续爆发导致全国仅存7家直营门店(所在位置均为自有物业),又因观致7车型所在工信部公告过期,车辆被扣且无法上牌,致使宝能汽车整体业务处于停滞状态,还有126人在职,主要负责观致全国各地原有客户的维护及保养,7个门店运营,DS05项目调研及跟进,财务账目梳理,个税申报及劳动仲裁案件处理,诉讼及破产处理等工作。
“公司大概欠了我十几万元的工资,最糟心的是社保、公积金这些都没有缴。”一位已经在2021年下半年离职的前宝能工作人员告诉记者。在他的印象中,宝能汽车的资金链大概在2021年6月开始出现问题:“那时工资就开始发放不正常了。”
每日经济新闻记者从一位不愿具名的前宝能系人士了解到,到今年4月初,目前宝能汽车整体涉及欠薪人员5659人,欠薪总额约1.3亿元(含补偿金约2500万元),社保欠缴约9180万元,公积金欠缴约6272万元。
即便如此,姚振华对汽车业务“不抛弃不放弃”。今年2月,宝能集团董事长姚振华在“宝能集团2023新年开工大会”上表示,2023年将是宝能迈进下一个三十年辉煌征程的崭新起点,也将是宝能汽车战略提速的决胜之年。
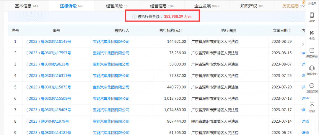
目前,宝能汽车作为被执行人,被执行金额合计35.39亿元,并且多次被列为失信被执行人,牵涉多起诉讼。
2023年8月30日,宝能集团305名员工2022年3月至2023年4月工资,由于未依法及时足额支付,被深圳市罗湖区人力资源局罚款5万元。
责编:刘安琪 | 审核:李震 | 监审:万军伟
