
【大河财立方消息】9月30日,据河南省产权交易中心消息,河南省中豫融资担保有限公司(简称中豫担保)发布增资项目公告。
公告显示,中豫融资担保此次拟募集资金总额442160万元 ,拟募集资金对应持股比例为40%,拟新增注册资本400000万元 。募集资金的用途主要用于中豫担保业务的拓展及公司的日常运营。 增资完成后,新增战略投资人持股比例共计16.5%。
报名时间自公告之日起至2021年12月01日17:00:00。
投资方需满足这些条件:
1.合法成立、有效存续的,属于河南省各级政府、财政或国资部门(市级功能区除外)出资设立的国有公司及其子公司;
2.注册资本不低于6000万元;
3.投资人经营范围包含城市基础设施、市政工程的投资、建设、运营和管理等;或控股公司服务,债券投资、项目投资、企业并购重组,企业管理咨询,财务咨询;
4.投资人不得有破产重整、负面舆情(借款和对外担保)等情况;
5.投资人的资产负债率不得高于70%;
6.认可增资企业本次增资方案;
7.本项目不接受联合投资主体;
8.国家法律、行政法规规定的其他条件。
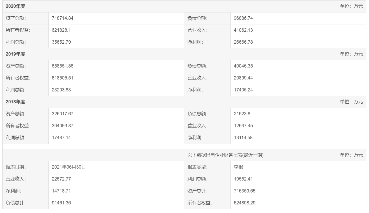
资料显示,河南省中豫融资担保有限公司成立于2017年11月08日,注册资本金60亿元,为国有控股公司。
财务数据如下:
增资后企业股权结构为: 河南省豫资城乡一体化建设发展有限公司持股比例23.5%;郑州投资控股有限公司持股比例4.5%;禹州市投资总公司持股比例4.5%;开封城市运营投资集团有限公司持股比例3.75%;焦作市投资集团有限公司持股比例3.0%;濮阳投资集团有限公司持股比例3.0%;长垣市投资集团有限公司持股比例3.0%;兰考县城市建设投资发展有限公司持股比例3.0%;林州红旗渠经济技术开发区汇通控股有限公司持股比例3.0%;临颍豫资投资控股集团有限公司持股比例3.0%;新安县发达建设投资集团有限公司持股比例3.0%;洛阳西苑国有资本投资有限公司持股比例3.0%;洛阳鑫赟通实业有限公司持股比例3.0%;宝丰县发展投资有限公司持股比例3.0%;许昌市魏都投资有限责任公司持股比例3.0%;新乡平原示范区投资集团有限公司持股比例3.0%;洛阳盛世城市建设投资有限公司持股比例2.25%;开封金控投资集团有限公司持股比例1.5%;新乡市创新投资有限公司持股比例1.5%;栾川县天业投资有限公司持股比例1.5%;濮阳开州投资集团有限公司持股比例1.5%;灵宝市国有资产经营有限责任公司持股比例1.5%;新乡高新投资发展有限公司持股比例1.5%;新增战略投资人持股比例共计16.5%。
责编:陶纪燕 | 审核:李震 | 总监:万军伟